Размеры
| DN |
L |
H |
D |
d |
W |
кг/шт |
| 1/4" |
57 |
35 |
10 |
1 |
2 |
0.16 |
| 3/8" |
57 |
35 |
10 |
1 |
2 |
0.15 |
| 1/2" |
60 |
38 |
15 |
1 |
2 |
0.21 |
| 3/4" |
69 |
42 |
20 |
1 |
2 |
0.28 |
| 1" |
85 |
50 |
25 |
1 |
2 |
0.45 |
| 1 1/4" |
99 |
55 |
32 |
1 |
2 |
0.62 |
| 1 1/2" |
111 |
73 |
51 |
1 |
2 |
1.44 |
| 2" |
137 |
73 |
51 |
1 |
2 |
1.44 |
| 2 1/2" |
172 |
91 |
65 |
1 |
2 |
3.30 |
| 3" |
205 |
110 |
80 |
1 |
2 |
6.30 |
| |
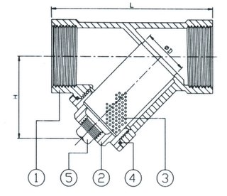
Материалы частей крана
| № |
Часть |
Материал AISI/W № |
| 1 |
Корпус крана |
1.4408 |
| 2 |
Болт |
1.4408 |
| 3 |
Решито |
1.4401 |
| 4 |
Уплотнение |
PTFE |
| 5 |
Крышка спуска |
1.4408 |
|